Motore DF200

Modello DF200T

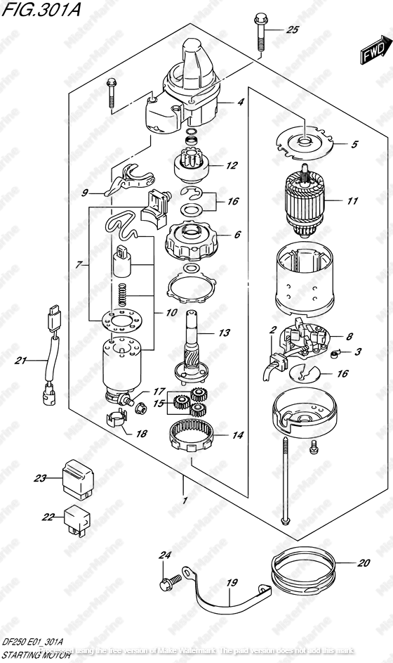
Esploso MOTORINO AVVIAMENTO

Anno: 2006
Seriali: 20001F-680001~
1
31100-96J02-000
31100-96J02-000
MOTORE, AVVIAMENTO
MOTORE, AVVIAMENTO
Qtà Richiesta: 1
€ 1053.82
2
31131-90J01-000
31131-90J01-000
CARBONE
SPAZZOLA
Qtà Richiesta: 1
€ 39.42
3
31135-90J00-000
31135-90J00-000
MOLLA
MOLLA
Qtà Richiesta: 4
€ 7.25
4
31151-93J00-000
31151-93J00-000
SCATOLA , INGRANAGGIO DF 200-2
COPERCHIO PIGNONCINO
Qtà Richiesta: 1
€ 96.62
4-1
31151-94J01-000
31151-94J01-000
CUSTODIA
CUSTODIA
DA MATR. DF200T 780655 DF200Z 780109 DF225T 780576 DF225Z 780122 DF250T 780920 DF250Z 780344
Qtà Richiesta: 1
€ 110.11
5
31152-90J00-000
31152-90J00-000
PIATTO DF90/115
PIASTRA CENTRALE
Qtà Richiesta: 1
€ 17.41
6
31153-90J00-000
31153-90J00-000
SUPPORTO
SUPPORTO INGRANAGGI PLANETARI
Qtà Richiesta: 1
€ 27.39
7
31171-93J00-000
31171-93J00-000
COPERCHIO KIT, DF200-250
COPERCHIO PARAPOLVERE
Qtà Richiesta: 1 --
Articolo non in catalogo.
7-1
31171-96J00-000
31171-96J00-000
COPERCHIO KIT,DF25/K6-
COPERCHIO PARAPOLVERE
DA MATR. DF200T 780655 DF200Z 780109 DF225T 780576 DF225Z 780122 DF250T 780920 DF250Z 780344
Qtà Richiesta: 1
€ 13.65
8
31173-90J02-000
31173-90J02-000
ARRESTO, SUPPORTO
ARRESTO, SUPPORTO
Qtà Richiesta: 1
€ 116.31
9
31191-93J00-000
31191-93J00-000
LEVERAGGIO , VARIATORE DF200-
LEVA
Qtà Richiesta: 1 --
Articolo non in catalogo.
9-1
31191-96J00-000
31191-96J00-000
LEVA ,VARIATORE DF25/K6-
LEVA
DA MATR. DF200T 780655 DF200Z 780109 DF225T 780576 DF225Z 780122 DF250T 780920 DF250Z 780344
Qtà Richiesta: 1
€ 18.25
10
31220-90J00-000
31220-90J00-000
INTERRUTTORE
INTERRUTTORE MAGNETICO
Qtà Richiesta: 1
€ 263.73
10-1
31220-90J00-000
31220-90J00-000
INTERRUTTORE
INTERRUTTORE
DA MATR. DF200T 780655 DF200Z 780109 DF225T 780576 DF225Z 780122 DF250T 780920 DF250Z 780344
Qtà Richiesta: 1
€ 263.73
11
31310-90J00-000
31310-90J00-000
ARMATURA DF90/115
ROTORE MOTORINO AVVIAMENTO
Qtà Richiesta: 1
€ 416.48
12
31320-93J00-000
31320-93J00-000
PIGNONE DF200-250
PIGNONCINO MOTORINO AVVIAMENTO
Qtà Richiesta: 1
€ 158.89
13
31341-93J00-000
31341-93J00-000
ALBERO RO, PIGNONE DF200-250
ALBERO PIGNONCINO
Qtà Richiesta: 1
€ 90.05
14
31343-90J00-000
31343-90J00-000
INTERNALLUMINIO INGRANAGGIO DF
INGRANAGGIO INTERNO
Qtà Richiesta: 1
€ 59.82
15
31344-90J00-000
31344-90J00-000
INGRANAGGIO DF90/115
INGRANAGGIO PLANETARIO
Qtà Richiesta: 3
€ 28.40
16
31360-93J01-000
31360-93J01-000
RONDELLA
GRUPPO RONDELLE
Qtà Richiesta: 1
€ 10.96
17
31913-93J00-000
31913-93J00-000
TERMINALE DF200-250
TERMINALE
Qtà Richiesta: 1
€ 16.91
18
31914-93J00-000
31914-93J00-000
TAPPO , TERMINALE DF200-251
TAPPO TERMINALE
Qtà Richiesta: 1
€ 4.07
19
31912-93J00-000
31912-93J00-000
FASCIA , MOTORE INO AVVIAMENTO
FASCIA SUPPORTO MOTORINO
Qtà Richiesta: 1
€ 5.73
19-1
31912-98J00-000
31912-98J00-000
FASCIA , MOTORE INO AVVIAMENTO
FASCIA , MOTORE INO AVVIAMENTO
DA MATR. DF200T 780506 DF200Z 780091 DF225T 780467 DF225Z 780101 DF250T 780707 DF250Z 780254
Qtà Richiesta: 1
€ 7.38
20
31918-90J01-000
31918-90J01-000
SMORZATORE DF90/115
SMORZATORE DF90/115
Qtà Richiesta: 1 --
Articolo non in catalogo.
20-1
31918-90J11-000
31918-90J11-000
SUPPORTO
SUPPORTO
MY06>
Qtà Richiesta: 1
€ 9.92
21
36645-93J00-000
36645-93J00-000
LEAD CAVO DF 200-250
CAVO MOTORINO AVVIAMENTO
Qtà Richiesta: 1
€ 8.65
22
38860-76F01-000
38860-76F01-000
RELE' AVVIAMENTO
RELE'
Qtà Richiesta: 1
€ 38.58
23
38915-90J00-000
38915-90J00-000
SUPPORTO
SUPPORTO RELE'
Qtà Richiesta: 1
€ 4.12
24
01550-08207-000
01550-08207-000
BULLONE
VITE
Qtà Richiesta: 2
€ 3.26
25
01550-08307-000
01550-08307-000
BULLONE
VITE
Qtà Richiesta: 2
€ 3.89
Go To top